推薦企業新聞
-
水泵行業發展前景及剖析
2021年10/11 - 09:04:02
-
半閉式葉輪自吸離心泵
2021年10/11 - 09:03:57
-
水泵按時檢修方式 專業知識
2021年10/11 - 09:03:54
-
往復泵閥的功效是啥
2021年10/08 - 13:26:28
-
化工泵選型時要特別注意些哪些
2021年10/08 - 13:26:26
-
水泵的操縱方式如何
2021年10/08 - 13:26:25
耐腐蝕泵(各種類型的耐腐蝕化工泵結構圖)
耐腐蝕化學泵根據安裝類型可分為臥式耐腐蝕化學泵和立式耐腐蝕化學泵。常用的生產材料包括不銹鋼耐腐蝕化學泵和氟樹脂耐腐蝕化學泵。所有可以承受化學物質等腐蝕的泵都可以稱為耐腐蝕化學泵。
以下是某些防腐蝕化學泵的產品結構圖。
耐腐蝕化學浸沒泵的結構圖
氟樹脂耐腐蝕化學泵的結構圖
IH型不銹鋼耐腐蝕化學泵結構圖
AFB型耐腐蝕化學泵結構圖
JMZ型防腐化工酒泵結構圖
不銹鋼防腐管道泵的結構圖
FSB型耐腐蝕化學泵結構圖
耐腐蝕耐磨渣漿泵結構圖
FSB裝配圖
不會堵塞的化學雜質泵的結構圖
不會堵塞的化學紙漿泵的結構圖
不銹鋼化學磁力泵的結構圖
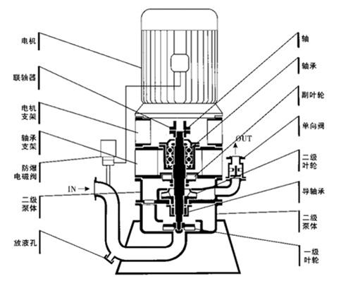
帶兩級秘密密封的自吸泵的結構圖
單螺桿泵結構圖
-
水泵行業發展前景及剖析2021-10-11
-
往復泵閥的功效是啥2021-10-08
-
散裝水泥輸送用哪種泵2021-09-22
-
水泵離心葉輪及機械密封的故障解決2021-09-15
-
50ZX10-40自吸式水泵外觀設計安裝規格_技術參數趨勢圖_價錢2021-09-08
-
自吸泵的Z大容許吸上真空泵高度2021-09-06
-
水環式真空泵應用維護保養方式2021-08-19
-
全自動自吸式式水泵2021-08-17
-
上海市盛納水泵廠自吸泵原理剖析2021-03-09
-
排污泵如何配電纜線2021-03-29
-
磁力泵和屏蔽泵的安全性較為2021-08-02
-
盛納自吸式水泵測試平臺超過領域水準2021-08-12
-
潛水泵的關鍵技術性特性2021-03-10
-
離心泵的工作原理知識_離心泵工作原理動畫2021-03-31
-
自吸式水泵進口管道改小對水泵的危害2021-03-31
-
多級離心泵的結構圖及原理2021-04-02






